Search for Crane Part number

(click on image to open PDF document)
Figures in which the part appears:
Demag (Demag AC )
157-7380 (Demag CC 2800 )
157-7381 (Demag CC 2800 )
62-2114 (Demag CC 2800 )
62-2154A (Demag CC 2800 )
157-7380 (Demag CC 2800 )
157-7381 (Demag CC 2800 )
62-2114 (Demag CC 2800 )
62-2154A (Demag CC 2800 )
Also known as:
38522740, 038522740, 0038522740
38522740, 038522740, 0038522740
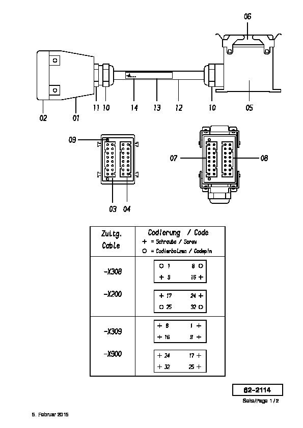
Parts for Demag CC 2800, Figure 62-2114:
Part Number 38522740: PLUG INSERT
Part Number 38522740: PLUG INSERT
Pos nr | Part number | Description |
---|---|---|
- | 59216840 | SEALING COMPOUND |
- | 13004112 | CABLE |
1 | 38522440 | HOUSING |
2 | 35826440 | COVER |
3 | 38522640 | SOCKET |
4 | 38522540 | INSERT |
5 | 32496040 | BASE HOUSING |
6 | 35826340 | COVER |
7 | 38522740 | PLUG INSERT |
8 | 38522840 | PLUG INSERT |
9 | 32495440 | ENCODER |
10 | 27025040 | UNION |
11 | 60081599 | REDUCTION |
13 | 63445440 | INSCRIPTION TAPE ROLL |
14 | 62177540 | SHRINKDOWN TUBING 5M-ROLL |
* Selected parts are automatically added to your RFQ list *